Vollautomatische vertikale Palettenumreifungsmaschine
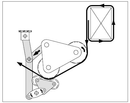
Hauptkomponenten der vertikalen Umreifungsmaschine
1. Grundmaschinenrahmen mit zwei Säulen und Querträger, vertikalen Schlittenführungen und Ketten
2. Zwischen zwei Säulen verfahrbares Regalmodul mit Schlittenführungssystem
3. Schlittenantrieb mit Getriebebremsmotor
4. Gurtschienenrahmen (Rutsche) aus gerillten Aluminiumprofilen gefertigt und am Maschinenrahmen befestigt,
federbelastete kurze Klappen, um die Bandzuführung in jeder Höhe zu ermöglichen
5. Lanzensystem zum Anlegen des Bandes durch den Palettenhohlraum, Abschnittshöhe 80 mm
6. Anschlüsse zum Umreifungskopf mit Bandspannungsausgleich
7. Bedienung der vertikalen Umreifungsmaschine über das Bedienfeld, Statusanzeige der Maschine über Cyklop Touchpanel Größe 7“, Farbdisplay.
Technische Daten von Automatische vertikale Palettenumreifungsmaschine
1. Stromversorgung: 3/ n, pe, (Neutralleiter = Belastbarkeit)
2. Steuerspannung: 24 V DC
3. Power-Score: max. drei, null kW
4. Gesamtgewicht des Gerätes: ca. 800 bis 1.000 kg
5. Umgebungstemperaturbegrenzung: + fünf °C bis + 35 °C
6. Spitze des Fördersystems: Pinnacle Seitenrolle / Kette der Fördermaschine min. 180mm bis max. 800mm

Technische Daten von Vollautomatische vertikale Palettenumreifungsmaschine
KA5 |
||
Bandqualität und -breite |
||
HAUSTIER |
9,0 - 18,5 mm |
|
PP |
/ |
|
Riemen-Spule |
||
Kerndurchmesser |
406 mm |
|
Außendurchmesser |
600 mm |
|
Breite |
150 mm |
|
Anzahl der Schleifen |
7 |
|
Riemenaufbewahrung |
15 m |
|
Abzugskraft des Riemens |
Das. 5 N |
|
Arbeitsablauf :
1. Das Paket wird zentral in die Umreifungsposition gefördert.
2. Vom Steuersystem des Kunden wird ein spannungsfreies Signal an die vertikale Umreifungsmaschine gesendet.
3. Schließen des Bandschienenrahmens (Rutsche) durch Vorwärtsbewegung des Lanzensystems.
4. Das Regalmodul mit dem Umreifungskopf fährt nach unten auf die Paketoberfläche. Der Der Riemen wird um die Schiene geführt.
5. Der Umreifungszyklus wird gestartet. Das Band wird zurückgezogen, gespannt, versiegelt und abgeschnitten. Öffnen des Bandschienenrahmens (Rutsche) durch Zurückschieben des Lanzensystems. Das Regalmodul mit Umreifungskopf fährt zurück in die Grundposition.
Wenn ja, Paket in die nächste Umreifungsposition transportieren und Umreifungsvorgang wiederholen.
Nach Abschluss des Programms sendet die Maschine ein spannungsfreies Signal zurück an die Förderbandsteuerung, um die Ladung aus der Maschine zu transportieren.
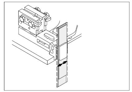
Hauptbestandteile des Umreifungskopfes
1 Spanneinheit
2 Siegelkassette
3 Stecker
4 Spanngetriebe
5 Schaukelstange
6 Spannräder
Die Spanneinheit und der Vorschub-Rückzugsantrieb spannen das Band. Mit zunehmender Spannung wird die Wippe (Hebel) angehoben.
Der Lenker und der Druckhebel drücken die Spannräder zusammen. Die Hochspannung wird dann nur durch die Spannungskupplung aufgebracht.
Die Bandenden werden so lange aneinander gepresst und gerieben, bis eine Temperatur erreicht ist, die eine einwandfreie Verschweißung gewährleistet.
Schalttafel:
Position: Freie Auswahl innerhalb der Länge von 5 m Kabelsätzen
Maße: Höhe: 1.060 mm, inklusive Schranksockel 1.060
Breite: 600 mm
Tiefe: 480 mm
Vorschriften: in Anlehnung an VDE 0100/0113, EN 60204, Schutzart IP 54
Anbindung an das Cyklop-Steuerungssystem über spannungsfreie Signale
SPS: Siemens S7
Status der Maschine wird über das Touchpanel angezeigt
Allgemeine Daten des Umreifungsgeräts CF H1 :
Technische Daten
1. Bandqualität: HAUSTIER
2. Bandbreite: 12,0 mm bis 19 mm
3. Bandstärke: > 0,58 mm bis 1,12 mm
4. Bandvorschub- und Aufwickelgeschwindigkeit: 2,9 m/Sek.
5. Art der Abdichtung: Reibschweißen
6. Versiegelungszeit: ca. 1,5 Sek. bis 2 Sek. (Je nach Riemen und Spannung)
7. Spannkraft: 200 bis 5.500 (Siegelzeit Anzahl der mehrstufigen Spannungen:
8. Paketbreite: 80 mm
9. Riemenmitte asymmetrisch 35 mm / 237 mm
10. Stromversorgung: 3/ N, PE, (Neutralleiter = Belastbarkeit)
11. Nennleistung : 1,0 kW
12. Steuerspannung: :24 V DC
13. Gewicht: 79 kg
14. Lackierung:RAL 7035
Weitere Informationen erhalten Sie jederzeit bei uns.
Krieg
WhatsApp:+86 15634865861








